Paso 7: Software: Software de configuración


Instalar pygame de python 2 y git: (se necesita conexión a internet para esto!)
sudo apt-get update
sudo apt-get install python-pygame git
Confirmar y si se le pregunta
pongo todo en casa de pi de usuario, en una carpeta llamada PIRMA.
Asegúrese de que usted está en /home/pi/directorio luego clonar mi repositorio a él.
CD/home/pi /
sudo apt-get install git
git clone git://github.com/FrYakaTKoP/PIRMA.git
Ahora usted necesita copiar tus archivos de audio en el mismo directorio. Utilicé WinSCP si se lucha aquí por favor buscar el internet para "Cómo copiar archivos a frambuesa pi".
El nombre predeterminado es "audio.wav" renombrar el archivo para esto o cambiar archivos de audio variable en el script de python.
Mi archivo de audio es un 44100 Hz 16 bits PCM Microsoft WAV. Pygame también soporta otros tipos de archivo y velocidad de muestreo. Pero recomiendo utilizar este parámetros para el archivo de Audio. Solía Audacity encubierta mi estéreo mp3 a wav mono.
También puede alterar la armed.wav si te gustaría tener un archivo de sonido diferentes para señalización armado.
Después de haber puesto su música a la pi que puede probar si todo funciona como se esperaba, usando el siguiente comando:
sudo python pirma.py
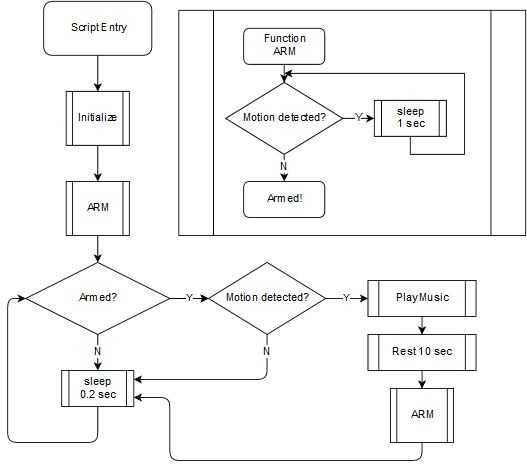
Ahora usted debe oír un "woooup" que dicen el script se está ejecutando y el sensor de PIR está armado. Ahora si activan la detección de movimiento, debe aquí su música comenzar a jugar. Después de terminar jugando el script realizará durante 10 segundos antes de rearmar. También se armará no si la entrada es alta, significa no se redispare si hay continua movimiento.
Si tienes un botón, puede detener la reproducción y rearmarse directamente con él.
He tenido algunos problemas con largo plazo ejecutar, Pygame o Alsa parecen chocar después de unos 5-8 horas. Así que hice la escritura sí mismo reiniciar después de jugar el audiofile. También ha añadido un reinicio cuando el guión está armado durante más de 4 horas sin movimiento. Con estos cambios, ha demostrado la secuencia de comandos para ejecutar sin problemas para más entonces 50 horas seguidas. Sin embargo, para nuestra aplicación esto no era necesario, puesto que el Museo está abierto durante aproximadamente 4 horas y el sistema está sin energía cuando el Museo está cerrado. Así que cualquier momento el Museo se abre allí es un fresco de arranque del sistema y antes de la secuencia de comandos colgaría el Museo se cierra.